suncitygroup太阳集团(中国)-官方网站
学校首页
理论教育
|
专题报道
|
新华特色
|
媒体新华
|
新华讲坛
|
学人学子
|
校园动态
|
太阳集团
|
教育谈
|
全媒体
通知公告
转发关于举办第三届“粤讲粤...
关于推荐参加第十五届“挑战...
关于第十五届“挑战杯”广东...
关于推荐2026年度广东省科技...
suncitygroup太阳集团20周年校庆公告...
关于2025年度校级质量工程项...
关于征集“全域文明迎全运·交...
suncitygroup太阳集团20周年校庆公告...
关于2025年广东省高等教育教...
关于转发征集广东省高等教育...
当前位置:
网站首页
>> 正文
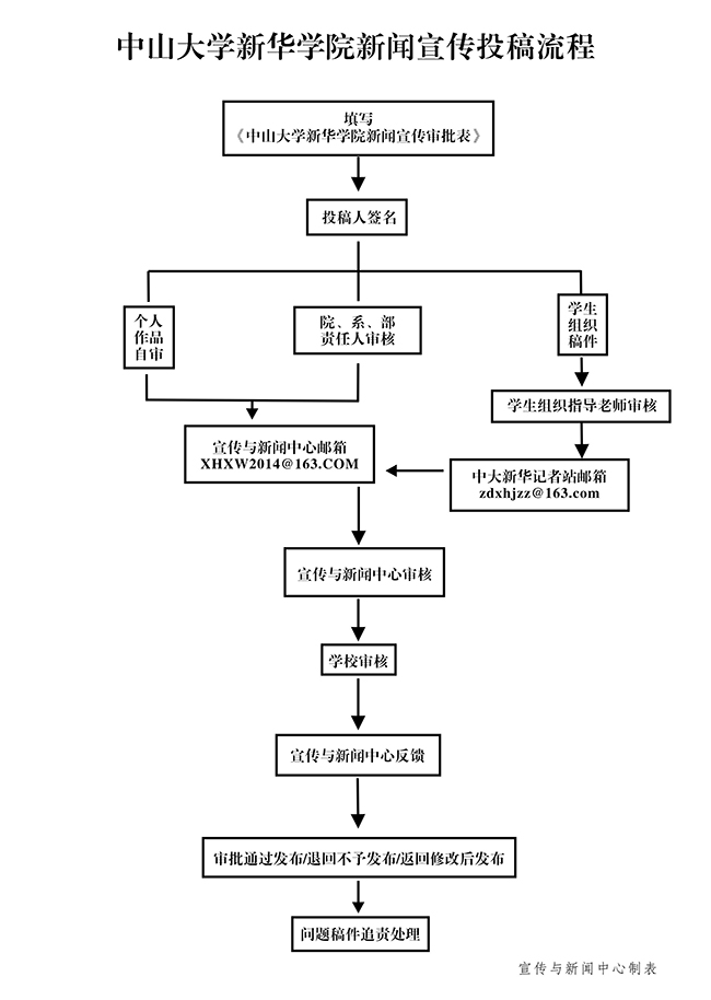
中山大学新华学院新闻宣传投稿流程
发布者:
[发表时间]:2017-11-27
[来源]:
[浏览次数]:
《中山大学新华学院新闻宣传审批表》下载地址:
/uploadfile/2018/1114/20181114055232734.doc